图知网
搜索
首页
热门推荐
图片分类
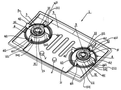
燃气灶内部结构图示
下载原图
相关图片
家用燃气灶构造图解
煤气灶的使用常识及常见故障的维修技巧
燃气灶结构图解析大全,让你秒变厨电专家!(附:常见故障处理方法)
康宝燃气灶jztq240a8812t天然气
二,煤气灶电磁阀结构图燃气灶具用的电磁阀,包括阀盖,阀盘,阀内的磁芯
cn101382300a_燃气灶失效
为你推荐
#蜡笔小新 - 堆糖,美图壁纸兴趣社区
潇洒哥头像
宝妈们晒晒素颜照吧
led大屏幕素材tv视频高清mv动态背景晚会舞台演出vj师舞蹈动画图
公主切假发女长发自然全头套长直发金色渐变中分姬发式网红假发套
火车硬座68号座位在什么位置不同车型位置不同
最会搞钱的中国首富,银行地方股市员工的钱被他算计个遍
32个幼儿园区域规则设置,科学区超市区娃娃家等,一次全收了