图知网
搜索
首页
热门推荐
图片分类
水浴加热内外液面要平齐吗
下载原图
相关图片
这种加热方式叫作"水浴加热",目的是: ①使被加热的物质受热均匀; ②
海洋植物如海带,海藻中含有丰富的碘元素,碘元素以碘离子的形式存在.
用水浴法给东西加热
一种环境监测用水浴加热装置-爱企查
水浴法的加热原理图解
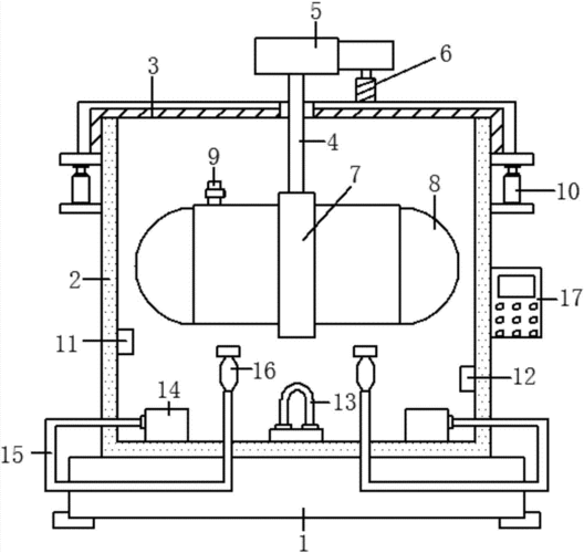
一种生物化学实验用水浴加热反应装置的制作方法
为你推荐
扁桃体恶性肿瘤
4k科幻画机器人医疗队
体重足足70.1kg,腰围:91cm
在产业发展方面白下高新区产业发展十四五规划,南京白下高新区经历了
看看这样的异常q波,谢 - 心电图脑电图专业讨论版 - 爱爱医医学论坛
广州中山古镇星光联盟灯饰
消防泵房安装图集
白及颗粒(镇南王)