图知网
搜索
首页
热门推荐
图片分类
33v5v12v电脑开关电源电路图
下载原图
相关图片
供应ncp1607bdr2g 1607b sop-8功率因数(pfc)电源芯片 可开机打通用
开关电源芯片电磁炉
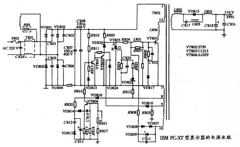
pc-xt型显示器的电源电路图
150wpc主电源电路
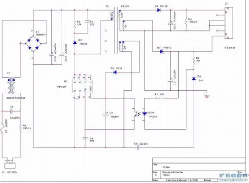
开关电源原理图
液晶显示器常用开关电源管理芯片介绍及维修(五)
为你推荐
看阿卑罗王自毁双目时简直哭s…#邵峰 #再忆经典
江珊,一个出生于电影世家的女演员,生活轨迹曲折多变,一直在追逐着她
《英雄联盟》 春晖海神 卡兹克插画图片壁纸
我想你了
愈翎创写有求必应
高腰外穿打底裤春夏百搭女冰丝长裤踩脚光泽裤大码女裤九分薄款
牡丹花纹身图片_背部新传统纹身图案
消费者不满中国黄金虚假承诺|金饰|足金_网易订阅