图知网
搜索
首页
热门推荐
图片分类
||小提琴初学者 #小提琴#乐理基础知识
下载原图
相关图片
新手自学小提琴:认识小提琴与五线谱🎻.新手自学小提琴:认识
🎻小提琴构造详解:初学者必知的基础知识
小提琴初学必知:琴的结构与基础
🎻小提琴一把位指位图 全
小提琴乐理基础与指法标注
小提琴.#零基础教学
为你推荐
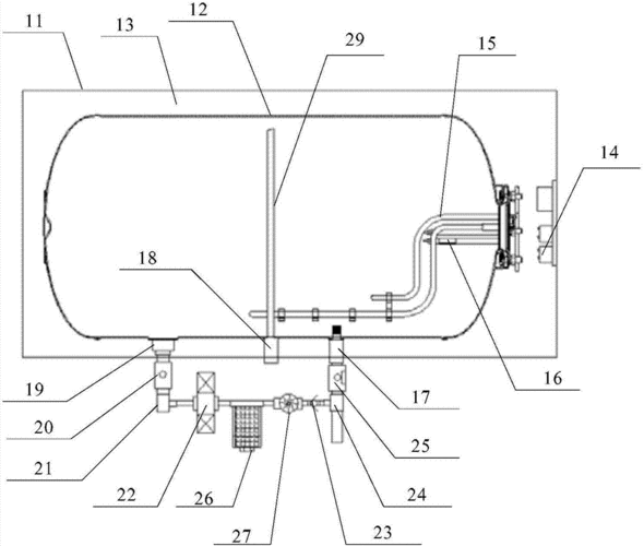
一种储水式电热水器及其控制方法技术
2007年门徒张静初和老鼠亲密接触贡献了教科书式演技
深海金丝白贝平安扣吊坠女手机链挂饰手工原创古风保平安挂件男
欧豪壁纸~#欧豪 #宝藏男孩 #壁纸 - 抖音
轻度白癜风早期症状图片
它处于阴茎皮肤下方,正常厚度约为2mm,包裹着海绵体及尿道.
儿歌虫儿飞吉他谱c调吉他指弹独奏谱
牛和羊怎么分,你真不一定能分得开,猜猜图中这是牛还是羊_麝牛_动物