图知网
搜索
首页
热门推荐
图片分类
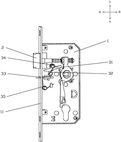
智能门锁产品典型结构图指纹密码锁为达到高端别墅项目使用需求,除了
下载原图
相关图片
品威适用门锁室内卧室通用型 单舌孔距130黑色房间门把手锁具家用实木
一种具有防插卡装置的门锁的制作方法
好新优b1半自动智能门锁产品相关说明
好新优半自动智能门锁b1组装示意图
厂家直锁经济实惠不锈钢门锁,密码门锁,防
一种防盗外门锁制造技术
为你推荐
小红书火爆壁纸
毛衣简笔画!
冯思佳最佳拍档抽签在哪看 - 抖音
李苦禅写意八哥作品辑录欣赏
插画
海尔(haier)二星级嵌入式消毒柜zqd100f-e60s1 100升大容量家用 光波
一百公斤水放500克的碱,请问一公斤水放多少克碱?
病虫害图片大全