图知网
搜索
首页
热门推荐
图片分类
暖色系设计配色卡8
下载原图
相关图片
暖色调配色方案,暖暖的调子表现出热情,明亮,幸福和乐观,活泼的感受.
邻近暖色搭配 明暗暖色混搭 暖花色和暖纯色混搭 冷暖色混搭 想
ps教程网#温馨暖色系设计配色
沁绣墙布分享软装设计中101种配色方案!
原创不懂穿衣风格难怪不会穿顶尖造型师专属色调干货太实用
在色彩的种类选择上暖色系中的红色,橙色,黄色最能体现出浪漫中温馨和
为你推荐
古装武侠剧《绝代双骄》,中国影视-回车桌面
闲走北京之顺义公园-北京市一级公园(顺义区)
"厂里厂气"的朱亚文成"变色龙",众人沉迷《大明风华》!
黑色长礼服高级又神秘,小黑裙短裙则是性感俏皮.
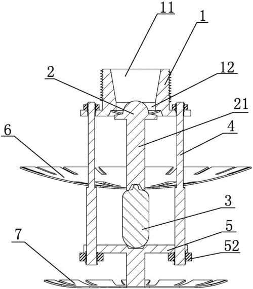
一种双溅水盘消防喷头的制作方法
彪马男鞋
手持芭比&头像美少女战士
活动作品mad混剪qq炫舞星瞳超燃踩点