图知网
搜索
首页
热门推荐
图片分类
手势密码图案大全简单的9个点却能够演变出千变
下载原图
相关图片
双子座手势密码
全qq手势密码
图案密码大全简单(手势密码简单漂亮图案)
qq简单又困难手势密码
复杂手势密码图案
手势密码图案大全 九个点的手势密码 - 时代开运网
为你推荐
设计的_人工智能_carlos
北影节十年之际回顾:那些各具特色的中国电影节
咒怨:白老妇
酥香葱油饼
纪凌尘晒最新写真照腿太长肌肉线条清晰可见令众多女生尖叫
黄氏三修族谱
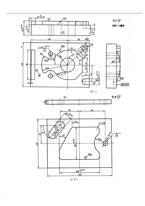
数控铣加工中心图纸1
抚仙湖畔樱花谷