图知网
搜索
首页
热门推荐
图片分类
跪求筛板精馏塔的cad装配图,最好是带剖面图的,有的话发邮箱
下载原图
相关图片
急,急,急啊,求哪位高手帮我下一个筛板精馏塔的cad图,在线等哈!
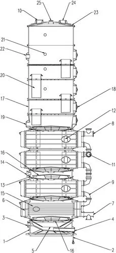
一种碱液用筛板式碳化塔
一种多筛孔式筛板塔的制作方法
筛板精馏塔设计ppt
筛板精馏塔设计cad图纸
筛板式精馏塔cad装配图
为你推荐
神鱼shenyu强光手电筒可充电led超亮远射王1000米迷你户外家用yf1005
【雷安】一份来自凹凸世界的狗粮!不甜不要钱
想去智慧城市看看?快寻找这把"金钥匙"
【谷围南亭-推广曲】与君随 - 听见国漫 - qq音
麒麟吐珠的功效与作用_美健品健康网
刘添月
复活木乃伊怪物角色姿势3d模型合集
原创他是杨紫前任,今靠《陈情令》反派温晁走红,化身教导主任太搞笑