图知网
搜索
首页
热门推荐
图片分类
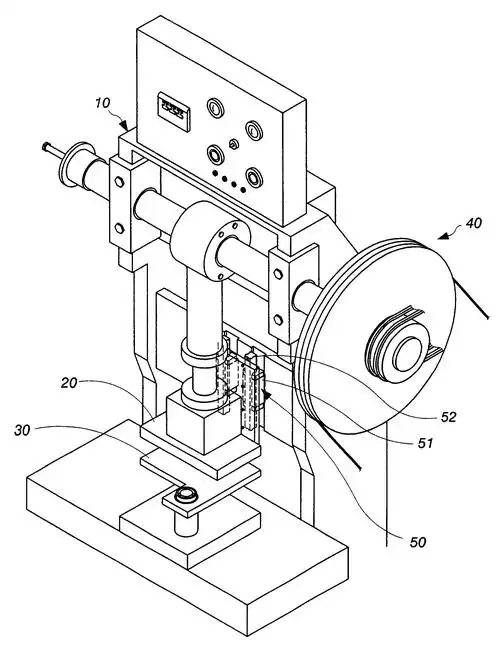
2-1如题图2-1所示为一小型冲床,试绘制其机构运动简图,并计算机构自由
下载原图
相关图片
下图为冲压机构的机构运动简图找出其中的复合铰链局部自由度及虚约束
简图手动冲床机构运动简图xc-b8简易冲床的机构运动简图简易冲床机械
冲床
ppt 34页
机身,传动装置,离合器,滑块,制动器,操纵机构淄博冲床厂家直销
齿轮式自锁型精密手扳压力机 hpc-1手动压力机 手动冲床
为你推荐
首页> 艺术品 > 《百合》50x60cm | 油画 2 作品 | 0
刀见笑
非常有格局的头像男生图片超酷男生高清真人帅气头像大全
26个小写字母表怎么背26个字母正确发音和记忆口诀
梅泽美波-撒优琳go
唯美古风背影打伞头像图片梦太晚花太香只是痴梦一场
养肤从吃开始百香果82能干吃就是勇士
彩铅画怎样绘画侏罗纪世界橡树龙