图知网
搜索
首页
热门推荐
图片分类
大自然鬼爷神工——张家界奇石怪峰
下载原图
相关图片
动物造型的奇石,让人感叹大自然的神奇,网友:p图的吧!
不禁感叹大自然的"鬼斧神工"
设计图库 自然景观 旅游摄影 上传: 2011-8-4 大小: 4.
乌江奇石大自然的神来之笔美哉
崂山奇石,大自然的造化!用眼睛去发现自然之美吧!
观赏这些千奇百怪天然奇石,让我见识到大自然鬼斧神工,拍手称赞
为你推荐
贫穷父女:小熙遭人妒忌,于是对小熙报复,没想到却被反杀!
实拍:北京中央电视台总部大楼,近距离欣赏"北京大裤衩"的魅力
旗袍干货一张图带你看懂旗袍常见领型
右侧多发性肋骨骨折一例
智邑ar测量尺子
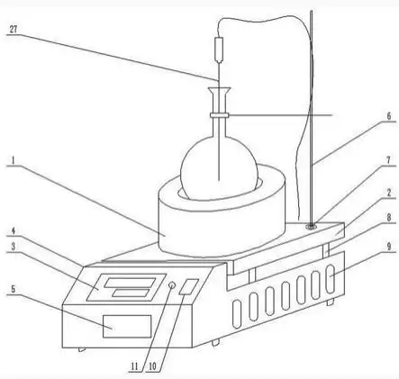
磁力搅拌电热套是实验室常用的加热设备,能进行磁力搅拌条件下的加热
专业何首乌进出口退税内外资工商税务散装仓检验检疫一条龙服务
樱桃小丸子太可爱啦 绿洲