图知网
搜索
首页
热门推荐
图片分类
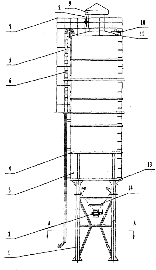
300吨水泥罐图纸30300t水泥罐图纸打包下载
下载原图
相关图片
高强度水泥罐
cn101823828a_一种污泥搅拌罐有效
污泥浓缩罐设计
cn212502054u_一种保持内部干燥的固井灰罐
60吨散装水泥罐cad总图纸dwg图纸
罐体结构图
为你推荐
从"傻白甜"到"接地气",欧阳娜娜是凭什么变成热搜体质?
吃大碗宽面的吴亦凡拥戴什么表?
池昌旭一日店员活动「吸千名粉丝群聚」惹议! 主办急.
世界超模千千万巴西的尤物要占一半来看巴西籍顶级貌美超模
伤感颓废男头真人版图片合集适合堕落忧郁时候的男生头像
王者荣耀q版李白
李向阳会见宁夏中卫市委书记何健一行
预订 shf假面骑士 创骑 天才形态 最终形态 桐生战兔