图知网
搜索
首页
热门推荐
图片分类
不锈钢玻璃栏杆施工方案
下载原图
相关图片
玻璃扶手 门窗紧固件玻璃栏杆铝槽地槽铝合金底座#玻璃护栏 - 抖音
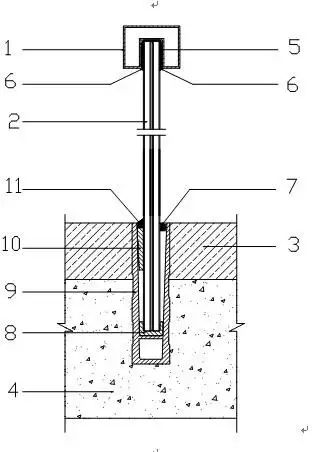
摘要附图摘要本实用新型揭示了一种无框玻璃栏杆,包括:钢化玻璃,地槽
玻璃栏杆设计详图
室外常用玻璃栏杆cad图
[分享]玻璃栏杆cad图纸资料下载
露台玻璃栏杆大样图
为你推荐
王家卫经典另类武侠电影东邪西毒珍贵花絮打斗场面拍摄
还记得玉兰油女孩刘碧丽吗?
黄景瑜你快把眼镜摘了吧##黄景瑜微博之夜
有什么好看的高清高达壁纸? - 知乎
从刚出生到现在的变化,拍着拍着就长大了,照片不能
御姐头像部位女头高清性感的部位头像御姐污图片
长大后我想当老师,教书育人
思维导图古诗望洞庭刘禹锡