图知网
搜索
首页
热门推荐
图片分类
本田思域,丰田凯美瑞地板"鼓包"的真相-搜狐汽车
下载原图
相关图片
吸收式消音器的消声水平取决于填充密度,材料的吸声等级和消声室的
车家号_发现车生活_汽车之家
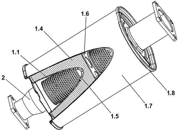
一种汽车消声器的制作方法
汽车消声器消音的基本原理和结构图
该消声器的内管采用了锥形进气管结构,可有效降低气流摩擦噪声,内管
东莞杰生汽车音响给crv装上消音器
为你推荐
弥彦小南长门
斯文败类金丝边 英伦复古大框 椭圆形全框 纯钛 细边 超轻 显脸小
女神妩媚如画迷人俞飞鸿娱乐圈新宠
易萌 斗鱼活鱼泰国斗鱼小型热带鱼淡水鱼宠物观赏活体 斗鱼半月3-5cm
壁纸| 高清无水印ins风手机壁纸合集
户外折叠椅露营野餐椅子装备躺椅便携折叠月亮椅小凳子折叠凳钓鱼
818黑寡妇风流史,她究竟啪过多少英雄?
日本arai头盔