图知网
搜索
首页
热门推荐
图片分类
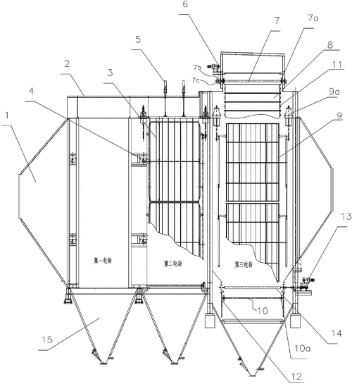
静电除尘器设计模型设计
下载原图
相关图片
拼装型湿式静电除尘器
电除尘器三视图
组合筒式高压静电除尘器
静电除尘器图文对照表
干式静电除尘器
一种移动极板静电除尘器
为你推荐
依然范特西手写字体
黄家驹 演唱会超清修复收藏版
12汶川大地震)照片.
印度女演员,模特迪莎·帕塔尼(disha patani)红毯造型,时尚穿搭!
北京朝阳区朝阳公园美景尽收眼底
自制街边摊油炸火腿肠,刷点孜然辣椒油,就是这个味儿
哈利波特系列头像赫敏
小一班九月环创-爱上幼儿园