图知网
搜索
首页
热门推荐
图片分类
于炀原来是这样子的youth,我才发现,想体验祁醉的快乐99 - 抖音
下载原图
相关图片
【awm绝地求生】祁醉×于炀
祁醉- 天秤倒一边
【awm】一辆小车车 ◎自我满.
lofter for ipad —— 记录生活,发现同好
lofter for ipad —— 让兴趣,更有趣
祁涟. 的喜欢
为你推荐
精密弹簧卡厂家直供 抱诚守真「宁波岑晟金属制品供应」
求接线图
我的梦智能简谱演唱张靓颖
幼儿园运动会主题场地场景布置装饰道具kt板背景墙打卡签名墙氛围
褐青色痣临床案例集(一) - 好大夫在线
网红ins零食爆款 榴莲毛巾卷蛋糕 浓郁香嫩 蛋香满满【3个装,6个装】
动漫中的蛇蝎美人, 每一个都是有毒的|阳雄|秦时明月|蛇蝎美人_新浪
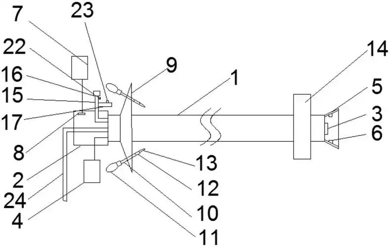
和电源,位于所述操作手柄下方的胃镜导管上设有口腔液体吸附结构,所述