图知网
搜索
首页
热门推荐
图片分类
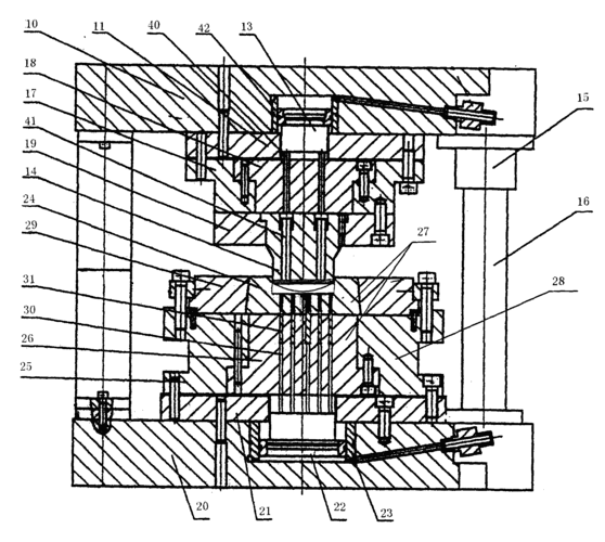
挤出成型模具 一,挤出成型模具的典型结构
下载原图
相关图片
67ug塑胶模具设计结构分析是如何挤压成型的
一种冲床热锻挤压模具
cn101875068a_零部件冷挤压成型模具失效
冲压模具结构是什么有哪些分类
cn203599260u_挤压成型模具有效
压铸模的基本结构
为你推荐
婚礼的晚宴更是壕气冲天,价值不菲的名酒随便喝,吴奇隆还在当地定做了
"天王发妻"乐基儿:让黎明甘愿砸75亿,床照成二人离婚导火索
祝福动态鲜花带字美丽图片大全
有没有超好看手机壁纸,压箱底的那种?
创新创业训练课程一syb创业培训班
ah-149吴冠中《江南小景》1
您可以在下面的板块中挑选喜欢的宝贝 包邮 秘制鸭肝500g真空装五香
家庭养老床位,是张什么"床"?