图知网
搜索
首页
热门推荐
图片分类
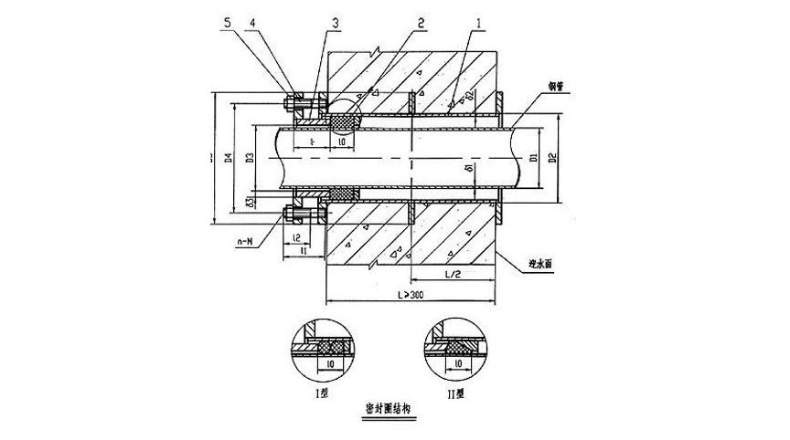
07fd02人防电气密闭套管dn806个一组镀锌管人防组合套管刚性防水套管
下载原图
相关图片
b型刚性防水套管安装图裂
02s404法兰套管b型
柔性防水套管建筑工程直供预埋穿墙人防密闭套管刚性柔性防水套管国标
污水处理厂用柔性防水套管b型定制国标穿墙套管钢制预埋套管dn150
刚性防水套管b型安装图
防水套管图集
为你推荐
钟汉良新剧《亦舞之城》520浪漫开机 网友:阵容好强大,十分期待
回顾狄波拉从弃婴到港姐嫁豪门甩谢贤一生都在找寻喜欢的活法
国内绝版 百味人生 云烟
天然原矿原色托帕石原石 黄玉毛料未打磨裸石 可做戒面 珠子
半边脸女头_女生头像_我要个性网
大人国与小人国儿童画
铅笔画那些年我喜欢的死神
校园新闻中华民族一家亲同心共筑中国梦凤山小学2022年民族团结进步