图知网
搜索
首页
热门推荐
图片分类
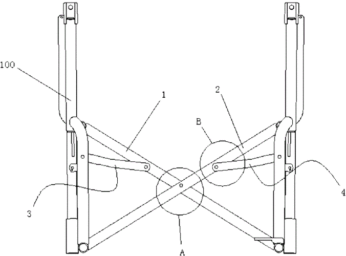
一种滑板车的折叠机构的制作方法
下载原图
相关图片
一种折叠式机械臂的制作方法
一种折叠机构及跑步机
一种跑步机用折叠机构的制作方法
一种一次性手套的自动折叠装置
一种灾后逃生的可折叠的双层避难框架装置
目的在于提供一种结构简单使用可靠,并且能够使轮椅机架横向折叠至更
为你推荐
关于关晓彤小时候的图片及评论
莫兰迪花纹背景背景图片
暖色系地板成就我的梦中情家
记得有一次跟男朋友吵架他说你能不能温柔一点,能不能有个女生的样子
乌纱帽乌衣巷帽子原创明制首服折巾翼善冠男女配饰古代官帽汉服定制
新华社记者 冯开华 摄
库里个人穿搭合集你们给小学生这个穿搭怎么评价呢
不锈钢方管是如何来进行轧制表面加工的