图知网
搜索
首页
热门推荐
图片分类
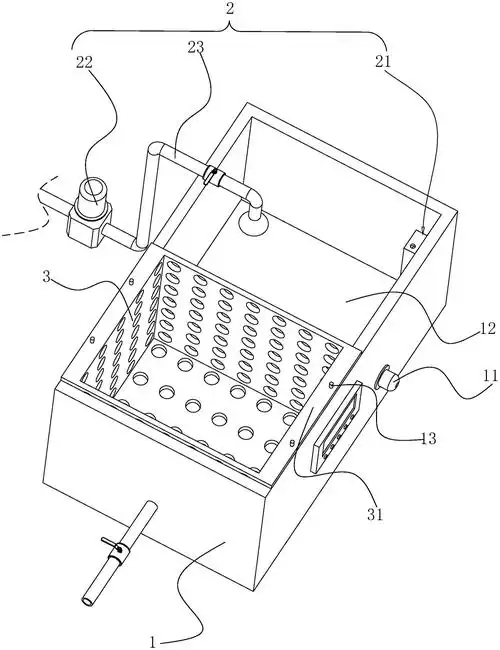
一种超声波清洗机的制作方法
下载原图
相关图片
一种可自动进水的超声波清洗机
一种超声波清洗机的制作方法
多效超声波清洗机的制作方法
一种具有脱水结构的超声波清洗机
明杰超声波清洗机清洗原理及应用领域分析
超声波清洗机的制作方法
为你推荐
任重
这只老鹰东张西望中等待猎物,从容淡定的注视着,高高鼻梁铁钩一 - 抖
letrange足金手链好柿莲莲柿子莲蓬本命年红绳手串黄金转运珠3d硬金
【有图】旗袍人像一组-蜂鸟网
k9是什么意思k9是什么意思字母圈
去他的转移注意力1
进口烧花烂花工艺适合大牌衬衫连衣裙
红继木小苗哪里最便宜