图知网
搜索
首页
热门推荐
图片分类
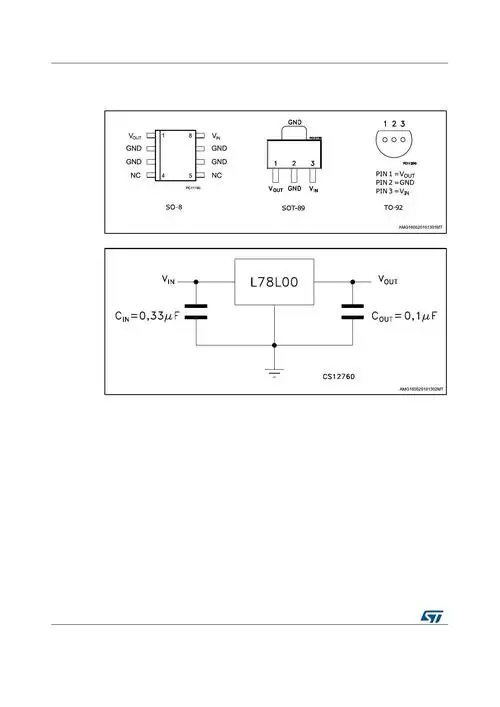
78l05稳压器引脚配置特点应用领域
下载原图
相关图片
【模拟电路】用三极管自制78l05芯片 - 知乎
本人有12v电源,78l05的管子,请问还需要什么才能把12v直流电变为5v的
l78l05acutr pdf datasheet浏览和下载
热销中njm78l05su33端正向定电压电源jrc授
mc78l05abp
78l05 datasheet pdf - stmicroelectronics
为你推荐
在二次元的世界里,小新的第一女神是非她不娶的大原娜娜子小姐,拥有
痞帅黑白动漫男头像图片114张_男生动漫头像_头像屋
池昌旭thek2西装剧照
ins风冷淡浓郁黄玫瑰
门头
20年同学会展板秋天再聚首期待秋天的相聚同学聚会展板
益母草
中国-黑板上写的中国