图知网
搜索
首页
热门推荐
图片分类
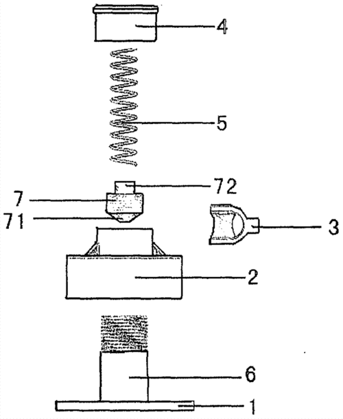
一种真空吸盘结构的制作方法
下载原图
相关图片
飞机壁板柔性装配系统真空吸盘设计概述
永磁真空复合吸盘的制作方法
一种新型真空吸盘的制作方法
一种可拆卸真空吸盘的制作方法
一种真空式吸盘的制作方法
一种真空吸盘制造技术
为你推荐
山猫全地形车多样化作战平台与无人化革新
北京顺义区花园带泳池明厨明卫合院线上看房高档二手豪宅别墅出售信息
12月有趣的cad灵魂300斤
猹儿们还记得武林外传这些经典语录吗?
搞笑锁屏壁纸
手绘动漫人物
广州地铁9号线有几个地铁站
太神奇了,四川乐山大佛"生"出了一座巨型睡佛