图知网
搜索
首页
热门推荐
图片分类
阿洛尼官网-|极简现代浴室柜|新中式浴室柜|轻奢现代
下载原图
相关图片
恒洁卫浴轻奢岩板一体双盆智能浴室柜组合简约现代洗手洗脸池卫生间
轻奢浴室柜现代简约卫生间洗漱台洗手池洗脸盆柜组合可丽耐一体盆
卫浴 科勒kohler轻奢实木岩板浴室柜现代简约智能洗脸洗手盆柜组合
现代轻奢浴室柜北欧卫生间大理石洗手盆柜组合实木智能洗漱台盆柜
北欧闪电客现代浴室柜大理石卫生间简约洗脸洗手台盆柜轻奢卫浴镜柜
森尼senni岩板浴室柜岩板一体浴室柜组合现代简约轻奢卫生间洗脸盆
为你推荐
紫砂壶 底款陈鸣远.细节如图所
民事诉讼受理条件(民事诉讼受理范围)
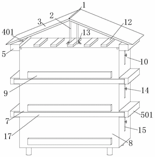
一种蜜蜂养殖用多层蜂箱的制作方法
一二好嫌弃没洗澡的布布啊
男生侧脸头像高冷无情爱情死了心也死了
莎莎-kawsarayy
5 of the worlds coolest stadiums
北京卖电动面包运输货车高顶平顶价格优惠