图知网
搜索
首页
热门推荐
图片分类
判断局部视图a和b的画法哪个完全正确?
下载原图
相关图片
3画出机件的a向局部视图.
判断下列斜视图和局部视图的画法哪个完全正确?
下列局部剖视图中正确的画法是
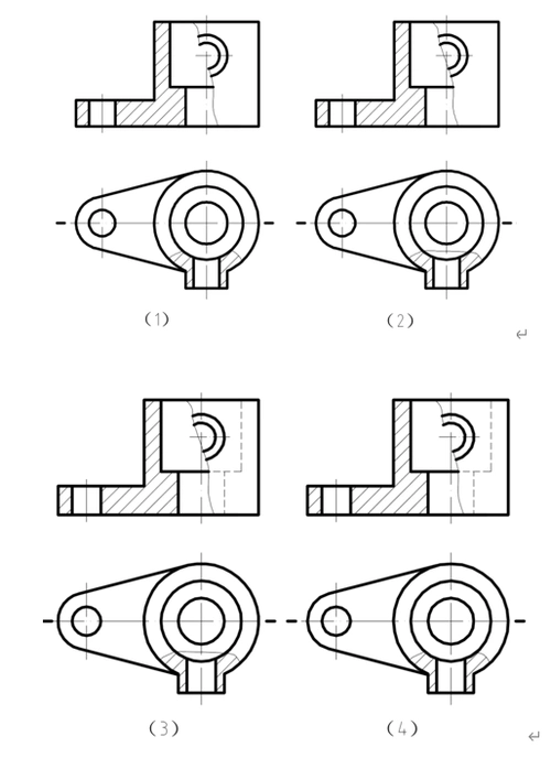
判断下列一组视图中正确的局部剖视图表达是
选择正确的局部视图e.
局部视图
为你推荐
在喀什市最大的华润超市里,年轻的售货员正在营业.郭建设 摄影
踏板摩托车简笔画--简笔画大全
2024款保时捷cayenne s 第一视角夜间试驾
喜欢养猫的女生都有这些隐藏特质
插翅难逃张世豪头像_微信头像图片大全
小松挖掘机pc200-8m0_2018年出厂2176小时
小晴说病害稻曲病
zealer 官网_technology stays true here