图知网
搜索
首页
热门推荐
图片分类
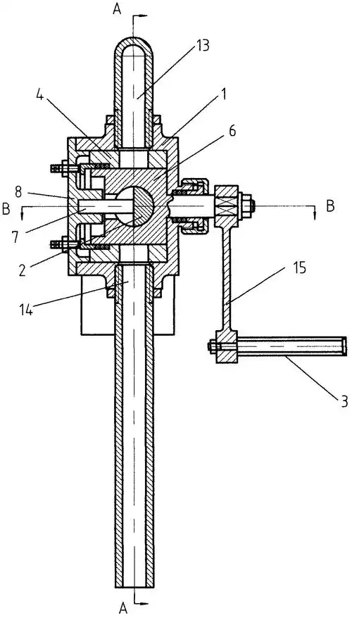
bysh系列手摇泵
下载原图
相关图片
手摇泵 sh-25人防手摇泵 地下室抽水泵 铸铁法兰手动泵
电动手摇泵s38船用手摇泵sh38手摇泵手动泵
固定式手摇泵
人防手摇泵sh-38sh-50手动地下室排污专用验收资料齐全 sh-38(丝扣款
转子式手摇泵
三eqsh手摇泵|手摇油泵安装示意图:25——为泵进出口径sh——为活塞式
为你推荐
《小男人遇上大女人》收官 观众领悟真爱力量(图)
自制桃酥
iphone壁纸
灌篮高手slamdunk插画
谁能拒绝动漫的回头一瞬
热销蒙牛纯牛奶16盒装
卡尔卡西练习曲06原版吉他谱六线谱经典流行吉他独奏谱_第1页
《大秦帝国之崛起》曝人物特辑 看宁静成王者_网易娱乐