图知网
搜索
首页
热门推荐
图片分类
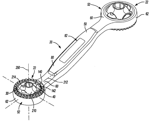
双向棘轮扳手的制作方法
下载原图
相关图片
棘轮扳手内部结构棘轮扳手包括一扳手主体,扳手主体头部的容置空间
棘轮扳手的防尘结构
cn102205526a_棘轮扳手失效
供应防爆单双向棘轮扳手远洋无火花防爆工具
一种两用无声棘轮扳手的制作方法
一种新型内六角棘轮扳手的制作方法
为你推荐
angelababy杨颖身材绝了穿一件吊带连衣裙凹凸有致女神范十足
胶州话:驴圣.拼音:lvsheng.
上海的高度
黑白灰系男头#神仙头像 - 抖音
日本回流:元钧窑蓝釉紫斑玉壶春瓶. 尺寸:直径12.5厘米, - 抖音
兔解剖组织彩色图谱
43) 所属分类:跑鞋 所属品牌:锐步 相关文章:(0)
今天收到建行一条短信,立马跑到经理办公室辞职,结果.