图知网
搜索
首页
热门推荐
图片分类
电气主传动系统中矫直回转主电机功率为40kw, ) 3 plc控制系统设计 3.
下载原图
相关图片
按钮sb1,sb2,plc,变频器,三相异步电动机的接线电路图.
plc恒压供水装置 电路图
电气原理图.dwg
3.1某机床电气控制系统电路图
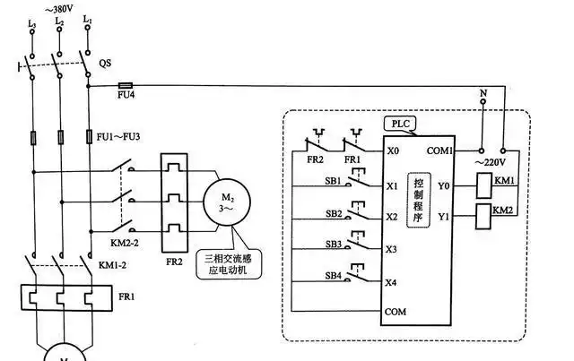
两台电动机顺序启/停的plc控制电路
plc编程第一讲长动控制 三相异步电动机全压启停控制的 电气原理图
为你推荐
粉色玫瑰花瓣背景图
大全眼镜图片_大全眼镜素材_大全眼镜模板免费下载-六图网
到达机场,广州,说再见的时候到了.
马**吴佳尼吃奶
最佳原创设计的国产跑车力帆 kpr150,让你体验国产跑车的魅力!
吉他谱 > 夕阳醉了欢迎访问简谱网!欢迎传谱,欢迎发布原创歌曲!
三笠 进击的巨人
神话悟空壁纸来了!