图知网
搜索
首页
热门推荐
图片分类
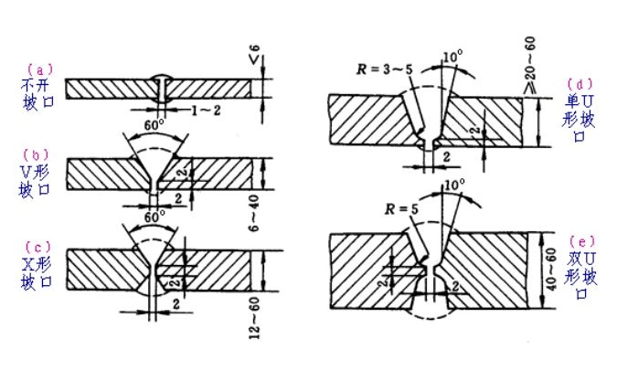
焊接坡口和装配
下载原图
相关图片
焊接工艺中u型x型v型坡口的区别总结
焊接常见坡口形式图解
对接焊缝坡口形式及标注方法
焊缝坡口的基本形式和尺寸标准
焊接坡口和装配
焊缝坡口形式及对应的焊接符号表示方法!
为你推荐
" 薰衣草女孩治愈系头像 . " 676767
盘点:国军打鬼子片段,机关枪迫击炮同时开火,鬼子瞬间死伤惨重
贵阳舞台搭建
急急急谁有简单爱的钢琴谱子简谱五线谱都可以
大臂貔貅_纹身图案手稿图片_叶强的纹身作品集
computers internet laptop sharing wireless comments
周小花出嫁记周九良x妈妈要我出嫁
邓女士孩子在医院注射疫苗病历. 受访者供图