图知网
搜索
首页
热门推荐
图片分类
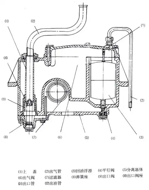
加油机维修知识ppt
下载原图
相关图片
河北衡信单枪单油品税控加油机,加油站防爆加油机,ic卡加油机
加油机结构供参习.doc
加油机的基本原理及其常见故障(v01)
【热学图片】热机:四冲程汽油机的剖面图
一种带以太网的加油机的制作方法
燃油加油机的结构和工作原理
为你推荐
星空下的初音高清壁纸初音未来壁纸
爱的等待资料照片_江苏南京征婚交友_珍爱网
道士头像萌萌哒 q版超萌道士头像_微信头像图片大全
白庆琳
郑州手绘插画
卡通武器免抠素材免费下载_觅元素51yuansu.com
聚沙成塔 | 窄颅畸形/狭颅症_封合
探秘三圣花乡观光旅游区