Warning: session_start(): open(/tmp/sess_cpt64vhvi6nlradie3kru4n1ec, O_RDWR) failed: No space left on device (28) in /www/wwwroot/www.tuzhiw.com/config.php on line 13

Warning: session_start(): Failed to read session data: files (path: ) in /www/wwwroot/www.tuzhiw.com/config.php on line 13
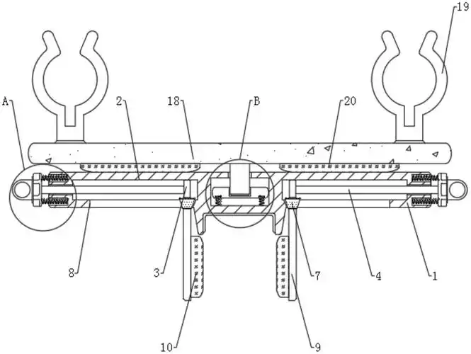
结构设计卡扣设计标准 - 知乎 - 图知网

结构设计卡扣设计标准 - 知乎

相关图片

为你推荐

ios17动态壁纸##迪丽热巴

萌到我了#鬼灭之刃 #九柱#同人图#蝴蝶忍 #时透无一郎 - 抖音

2021精选小男孩发型15款时尚有型很精神喜欢的妈妈请收藏

放弃40亿身家离婚,如今为陈冠希生女_秦舒培_赵磊_华谊兄弟

何其有幸能生于华夏,祖国的繁荣昌盛,才能看到如此美景.#上海 - 抖音

支持到付·1月前这个星球上最牛的平板电脑,全新一台到货 华为 mete

十七冶"深基坑智能化监测系统"新技术完成首秀

公主房