图知网
搜索
首页
热门推荐
图片分类
砖砌三级隔油池大样
下载原图
相关图片
隔油池及隔油器的选型与计算
隔油池图集[1]
意味餐饮隔油池大样图
什么是隔油池?
砖砌三级隔油池cad大样图
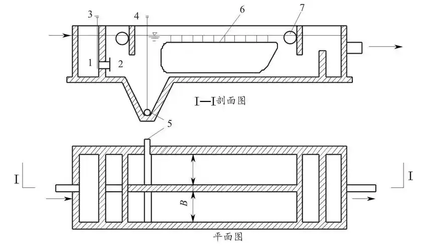
27 平流式隔油池示意
为你推荐
折纸花学习法
白蛇缘起插画,超喜欢风情万种的宝青坊主,阿宣与小白,插画师:北极靖
csc
samsung三星泡泡净蒸汽除菌滚筒洗衣机开箱拆解详细测评
don world invention award
部队伙食给你留下什么样的印象?
杭州:对不起,从今天起请叫我"新一线城市"!
【香河二手房网|香河二手房买卖信息】- 廊坊58同城