图知网
搜索
首页
热门推荐
图片分类
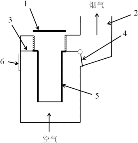
下吸式双循环秸秆气化炉
下载原图
相关图片
2,通风道的设计通风道是指炉篦以下的空间.
在中国农村是最常见的炊事工具,几乎家家都有,现在的柴火灶常为通过烟
一种无烟燃烧的正烧炊事采暖炉的制作方法
户外用品 亚马逊热卖便携式不锈钢折叠柴火炉 野外野餐露营柴火灶
一种新型多功能柴火灶
cn1391064a_水煤汽式无烟省柴炉灶失效
为你推荐
我站在你左侧却像隔着银河文艺男头
古装搞笑就服"东成西就"!国产古装喜剧电影top10
送别(故事影片《怒潮》插曲,钢琴公式化即兴伴奏谱)简谱(图1)
轻松搞定的美味点心!学会这3种奥利奥创意吃法,引爆味蕾惊喜!
徐威凤凰要在国际资讯的海洋里注入更多中国流量
我家的手扶拖拉机
来天水,一定要去一趟麦积山石窟,这个极其低调的国家5a级景区
丁禹兮时尚写真图片桌面壁纸