图知网
搜索
首页
热门推荐
图片分类
女白领简笔画
下载原图
相关图片
白领女性简笔画今天要迟到了职业人物简笔画上班族女孩简笔画女孩简笔
为职业女商人提供笔记本电脑和
可爱的姿势可爱的女银行职员轮廓
中国女性简笔画
女性黑白简笔画去上班的白领女性简笔画今天要迟到了职业人物简笔画
白领女生简笔画_职业人物简笔画
为你推荐
miss黄miss做的两个人的简单西餐
北京市西城区对于新冠疫情管理比较周密:已经发布了小区封闭计划
0300 行书七言诗 立轴 水墨纸本
白色双面胶
朝霞中的城市天际线
锡纸花甲粉
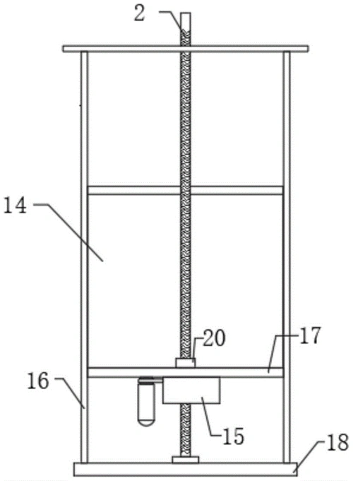
一种螺杆式家用电梯
动画推荐第三十一期《漆黑的子弹》