图知网
搜索
首页
热门推荐
图片分类
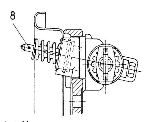
以凸轮作为促动装置的制动器称为凸轮式制动器;用楔作为促动装置的
下载原图
相关图片
一种楔式制动器
一种楔式制动器的制作方法
所有分类 工程科技 机械/仪表 汽车底盘之制动系ppt 楔式制动器 制动
一种电子楔式制动器
全地面及大吨位起重机楔式制动器结构原理及调整
一种楔式制动器用棘轮式扩张器
为你推荐
时七笔迹. topit.me 收录优美图片
女篮前国手于瑛哪年入选国家队 - 抖音
简笔画玫瑰花 简笔画玫瑰花的画法
腿上涂脱毛膏后,成功脱毛第二天,有一块火辣辣的疼,还有血点,像擦伤一
伴宝网 手抄报 精神文明手抄报 团结友爱手抄报 先在上方画上报头
大同三医院进修报告
游戏王ygo什么叫码语者就是全部都是码语者字段的u锁
蝴蝶图鉴 第一章 蝴蝶总科 壹号图编辑部/编著