图知网
搜索
首页
热门推荐
图片分类
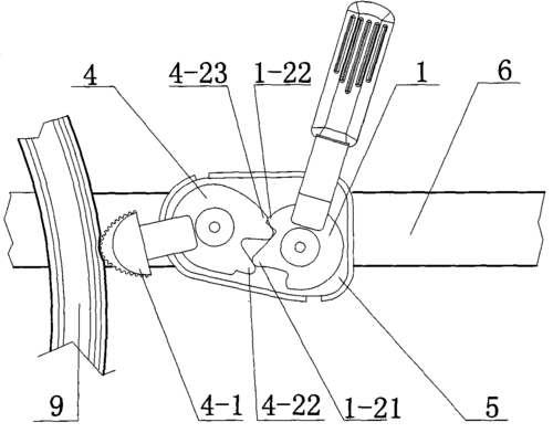
刹车机构装配图
下载原图
相关图片
如何判断刹车油是否需要更换-买车记
脚踏刹车机构
竟有刹车失灵隐患?盘式刹车和鼓式刹车哪个更靠谱一点
cn102068350a_轮椅刹车组件失效
夹臂连接有连杆操纵机构,连杆操纵机构包括刹车操作杆,刹车操作杆通过
手动刹车装置
为你推荐
童年儿童幼儿最简版钢琴双手简谱钢琴谱钢琴简谱pdf2页
吴宣仪
西安市推进高铁东站建设和综合规划有利于周边经济发展
上海弄堂老石库门老建筑
典唐盲人推拿(群贤道九号店)-"刚开业的时候去的
洛杉矶手机壁纸
你们是最棒的6英寸高考祝福蛋糕 寒窗苦读只为最后这两天的考试,愿
p>梁诗冉,毕业于北京电影学院,中国内地女演员.