图知网
搜索
首页
热门推荐
图片分类
萌娃搞怪头像超萌高清做不同动作表情的萌娃头像
下载原图
相关图片
超萌小女孩可爱头像来咯可用作闺蜜头像
网上最火的小女孩头像 高清好看女宝宝头像可爱图片萌_萌娃头像_头像
手绘小女孩头像超萌图片
小女孩清新头像图片高清超萌的头像女儿童可爱清新
qq头像可爱萌小孩女孩,超可爱头像 呆萌 漂亮-1
标签:情侣头像一对可爱小孩子保存头像图片:在需下载的头像上右键
为你推荐
这个是全自动包子机,只需要咱们和好面团,调好馅放入指定的入口,开机
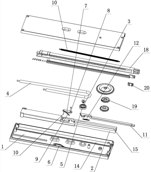
一种弹性按压反弹结构的制作方法
软萌可爱的卡通人物线稿,太好看了,画风超棒
千空成吉思汗画像 元朝皇帝孛儿只斤铁木真画像书房客厅装饰卷轴挂画
印象派大师,莫奈睡莲作品合集欣赏
红花遍野!巴彦淖尔这里的"步步高"花开啦,快来打卡
in flames inflames toys 猴厂 三国 神勇 关云长 关羽 2.0 接单
人脸抽象水彩