图知网
搜索
首页
热门推荐
图片分类
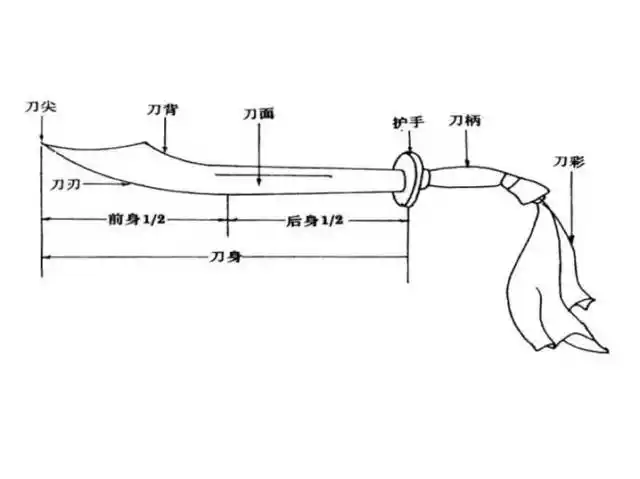
315款刀具图纸0aa019-图纸文件 (123)
下载原图
相关图片
唐刀尺寸图
我做了个匕首cad图 求高手帮我看看尺寸合适不
逃离塔科夫武器科普番外篇从6h5军用匕首谈俄罗斯苏联ak47akm刺刀
小熊家の cad刀具图纸 300多款刀型图纸 请留下邮箱
刀具cad图纸下载精品刀具刀型diy图纸 加工切割刀具二维cad资料机械
刀术教学 身侧马步砍云刀_手机搜狐网
为你推荐
王源炸毛了##t杂志集齐tfboys
街拍| 俏皮可爱!抓拍郑州街头高颜值小姐姐!-河南一百度
成都蒲江县蒲江花样年大溪谷实景图178- 吉屋网
曾舜晞
刀迷福利经典名刀设计图纸
tvb再放大招,全靠《使徒行者3》能否破局?
2018年农历八月十五辉县鸭口上午峪游
新年新气象,用这 13 款高质量的动态壁纸装点你的主屏