图知网
搜索
首页
热门推荐
图片分类
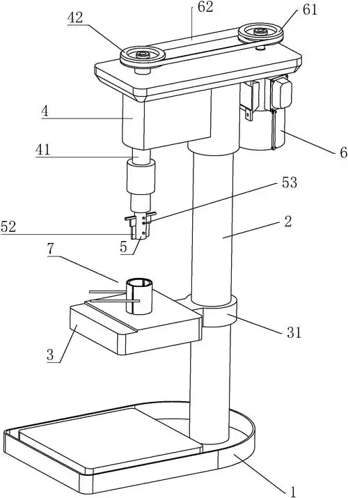
zj4110家用台钻总装图纸.rar
下载原图
相关图片
台钻结构及故障排除
本实用新型属于台钻安装结构技术领域,特别是涉及一种便于进行检修的
一种台式钻床
工业台钻小型台式钻床一体大功率钻铣床攻三用多功能攻丝机220v750w
基础知识与安全操作规程
正品浙江西菱台钻z512b/z516b重型台式钻床工业台钻高精度钻孔台_双氙
为你推荐
男星长发飞舞造型谁最美?邓超孙红雷辣眼睛,看到刘欢笑哭了
头像分享,可爱的皮卡丘,超级治愈心灵
《追龙》刘德华——你今晚让我很生气
过肩龙
66岁坐上轮椅的张铁林,他怎么了?
北京冬季团建推荐-暖场小游戏推荐,破冰首选(各种形式团建均可定制)
七龙珠 孙悟空 巴达克
编者通过查询资料得知,三道鳞,又叫镜鲤,三花鲤鱼,德国鲤鱼,三道鳞