图知网
搜索
首页
热门推荐
图片分类
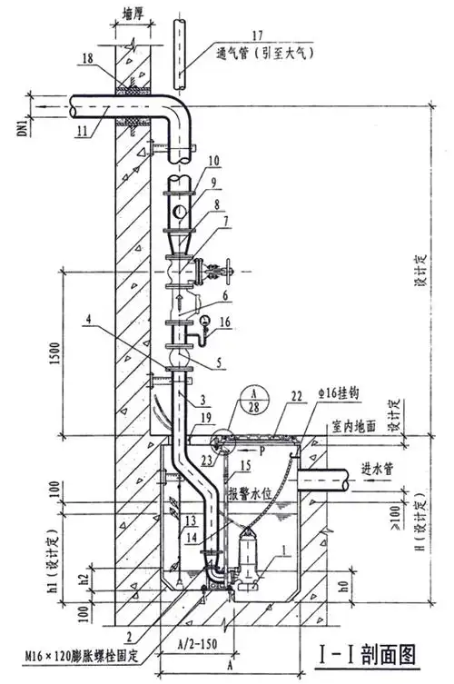
《潜水泵安装示意图》
下载原图
相关图片
潜水排污泵安装图集
污水泵安装,固定安装图
厂家直销 as av切割撕裂式泵排污泵 as潜污泵 av撕裂泵排污泵
潜水无堵塞排污泵安装示意图
500wq-250kw大流量污水泵潜水排污泵 产品特点: 有两种不同的安装方式
潜水排污泵工程cad安装图
为你推荐
张柏芝穿白衣优雅温柔五官精致美貌不减
为何美国女兵怀孕比例居高不下?真相惊人
高清沙雕动漫头像男生搞怪可爱图片
黑色qq资料背景图
落实巡查整改教学设施不足问题——灞桥区务庄中心小学彩钢活动房施工
瓜皮主播煤气点蜡烛 大司马第二次过生日
p>武进太湖湾旅游度假区位于江苏省 a href="#">常州市 /a> a href="
东台吉乃尔湖,纯净湖水,洁白盐沙,被誉为"中国的马尔代夫"