图知网
搜索
首页
热门推荐
图片分类
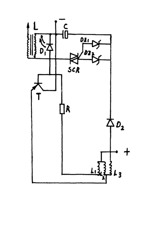
cn206310535u_一种电弧可调节的充电打火机有效
下载原图
相关图片
电子打火机电路图1.jpg
掌握高压电教你做一个超酷的等离子电弧打火机可便携充电哟
cn2139660y_打火机的电子点火装置失效
工业常用点火机电路
我要做个 迷你打火机 电路图有些东西看不懂
一种可充电的打火机-爱企查
为你推荐
西塘古镇
缅甸花梨木色彩丰富,由赫黄,褐赤到紫黄诸色;还有一些缅甸花梨木类似
假黄金,烧了不变色,同行们要小心呀 今天来了个卖金条的,说是矿厂提炼
王浩信唐诗咏将再次饰演情侣两人现身型到爆
《露华浓》牛惠丽(山东)《工笔花鸟》巩红(甘肃)韩嘉祥(天津)《溪山
万山牌ws6601型客车
变形金刚
餐厅设计