图知网
搜索
首页
热门推荐
图片分类
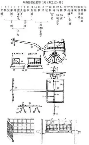
古代马车结构图解共6页第1页余略
下载原图
相关图片
古代马车结构图解共6页第1页余略
马车结构图
游览长治博物馆
古代的"豪车"——马车 马车怎么算"豪车"呢?
中国的马车一开始就以十分成熟的形态出现在考古遗迹之中:在殷墟二期
中西方古代马车的差异是什么
为你推荐
「派克传1.3」
qq头像二次元女生闺蜜 女生头像图片大全 -【爱个性】
杨幂旗下最扶不起的阿斗!杨幂的每部剧都有他,如今只混个脸熟!
满背佛纹身 #满背佛 #满背纹身手稿 #满背佛像 #新传统纹身
咖啡色复古纸张纹理图片
绵阳丨锅里煮着腊肉就出门肉糊了他们也来了
接触器控制交流电机正反转
网站首页 海量文档 > 教学课件 > 大学课件 二衬内无结构钢筋的隧道