图知网
搜索
首页
热门推荐
图片分类
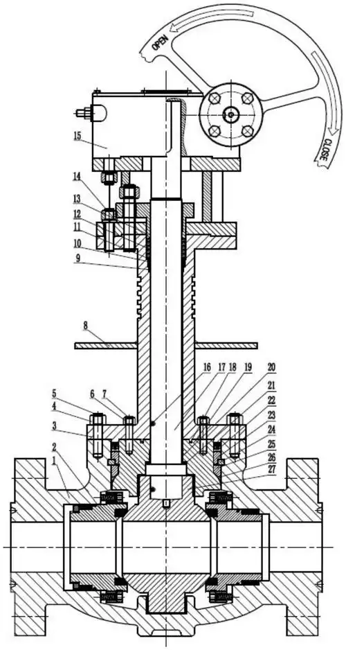
高温球阀
下载原图
相关图片
浮动球阀,固定球阀详细介绍以及结构示意图
压力表球阀
球阀的基本结构
一种两片式球阀制造技术
一种超低温超高压上装式自密封球阀
一种球阀的制作方法
为你推荐
一男一女公式情侣头像
霸王洗发水管不了自家老板?老板自拍视频呆萌回应发际线高
red velvet - 堆糖,美图壁纸兴趣社区
因为经常健身的缘故,她的大腿肌肉很发达,穿着紧身裤可以将她的好身材
金克丝纹身图案 #欧美纹身 - 抖音
明天会更好完整版简谱
4米2蓝牌货车有哪些车
百亿补贴nike耐克男子kd17运动训练篮球鞋fj9488700