图知网
搜索
首页
热门推荐
图片分类
柴气炉原理和方案设想
下载原图
相关图片
这个无烟柴火炉._家装_家居_家居用品_家居家装_家居用品
2,通风道的设计通风道是指炉篦以下的空间.
一种无烟燃烧的正烧炊事采暖炉的制作方法
新式无烟节能柴火灶的结构设计附尺寸
一种二次进风高效节能炉制造技术
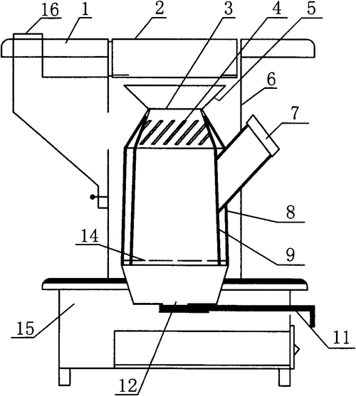
一种带进料口的家用节能柴草炉
为你推荐
67杨颖在《花田喜事》里是真的美!而且angelabab
袁洁莹
筝-流行_古筝谱-古筝曲谱-中国古筝网
邑城中心学校手工制作大赛获奖名单
脾气不好 - 可爱仓鼠斗图 - 可爱的仓鼠表情包
盘点同样是演大唐美人把现在的女演员跟20年前的对比高下立判
96民事诉讼法|重点笔记97.#民事诉讼法 #民事诉讼法及解 - 抖音
宇通客车 zk6906hn5e