图知网
搜索
首页
热门推荐
图片分类
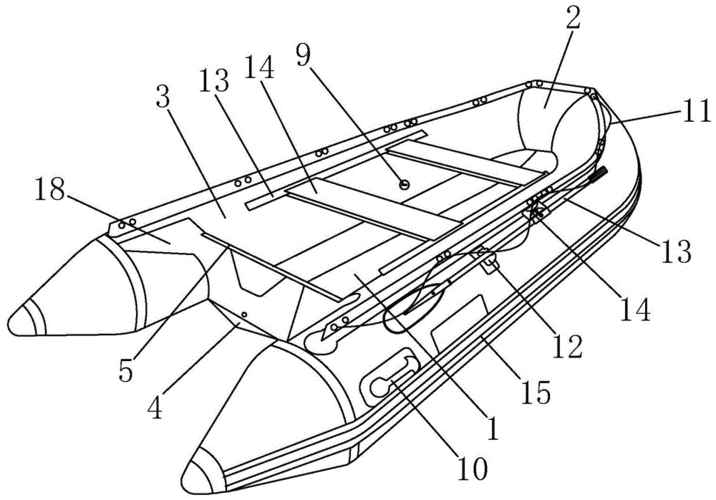
一种可充气成v形底的船及方法与流程
下载原图
相关图片
海的hider橡皮艇加厚钓鱼船充气船皮划艇3米3木底板防汛艇
意识时代—思维升华
【科普文】游艇部位的专业术语
翟墨demons舷外机船外挂机橡皮艇冲锋舟导向块69p-47467-10-5b
橡皮筏
流毒的魅影——现代特种毒品走私船|潜艇|毒贩|半潜_网易订阅
为你推荐
上影节红毯##王俊凯上影节好忙
华望多功能自拍杆加长手机自拍杆蓝牙遥控补光灯多功能通用三脚架手拿
这千军万马之势想想就有点小激动呢而现在,你也可以加入其中!
旗袍之美 |举报 |字号 订阅
一个人一旦开始喝茶,从内到外都会发生变化_手机搜狐网
蘑菇早点睡植物大战僵尸:自定义砸罐子 睡着的蘑菇,进攻的僵尸
海马体男士服装素材天真蓝证件照同款时尚免抠男生换衣服mjq素材
可爱北极熊