图知网
搜索
首页
热门推荐
图片分类
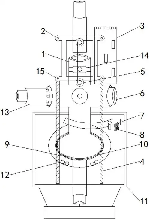
自动安平水准仪
下载原图
相关图片
水准仪的原理与应用
上一个笔记有人不明白
▼气泡式水平仪的工作原理▼mqn型气敏电阻结构及测量电路▼压阻式
一种十六线贴墙地顶一体激光水平仪
气泡式水平仪的工作原理 ▼
合象水平仪的使用.doc
为你推荐
杨幂我老公呢1分钟是什么梗和刘恺威真的离婚了吗
美女写真,明星壁纸,美女,明星,妩媚,魅力,成熟,吴倩,电脑壁纸,壁纸
珍珠花
回顾春晚钉子户孙涛结婚27年被拿捏死17次春晚全靠老婆
表情外包,微信表情包,qq表情包制作!
丁海寅
阿加莎书迷最爱《无人生还》
映山红