图知网
搜索
首页
热门推荐
图片分类
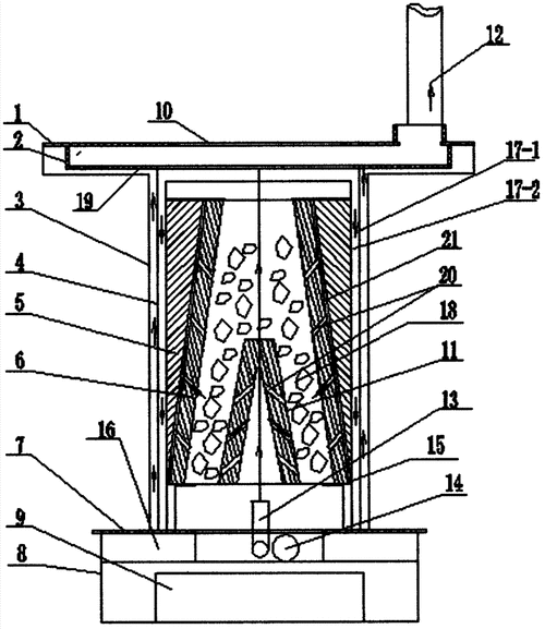
cn104848261a_一种高效率回风炉失效
下载原图
相关图片
一种火力可调式节能环保回风炉的制作方法
一种新型热处理回火炉
cn87216988u_金属体燃煤两回程间接加热热风炉失效
回转炉结构图片
集智节能回风炉
cn106191414a_一种网带式内置热风循环加热回火炉及其加热的方法失效
为你推荐
组图:彭于晏身穿夹克似赛车手 梳背头五官硬朗帅气十足
松江松江老城松东路1200㎡旅馆转让,公司照可过户
宇智波鼬 宇智波佐助
动漫人物素描画
简单儿歌数字乐谱
简约风格极简纯色创意设计宽屏高清图片合集电脑桌面壁纸下载
王雪晶和庄群施 参加购物节目go shop_哔哩哔哩_bilibili
最伤感音乐库