图知网
搜索
首页
热门推荐
图片分类
巴黎铁塔下的任嘉伦#任嘉伦漫步巴黎街头,在巴黎铁塔下打卡,这绝
下载原图
相关图片
这么绝美,怎能不让人喜欢呐?@任嘉伦allenrjl#任嘉伦流水迢迢#rjl#任
来啦来啦#任嘉伦 #任国超 #杂志封面 #绝美 - 抖音
这么绝美,怎能不让人喜欢呐?@任嘉伦allenrjl#任嘉伦流水迢迢#rjl#任
任嘉伦灰色西装酷帅写真图片35
任嘉伦烈焰之武庚纪##任嘉伦武庚
任嘉伦的西装造型太帅了,清新俊逸,容颜绝美,令人惊艳 .
为你推荐
乐嘉屈辱恋爱史首曝光 曾做过安利雅芳直销
泰国人妖变身前后对比照看完简直是男默女泪啊
炸鸡炒年糕
周冬雨《山楂树之恋》造型
达摩蛋纹身图片_脚部腿部老传统纹身图案
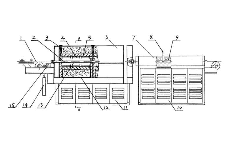
多管式光亮连续退火炉 - cn94239848.
书字草书写法_书草书怎么写好看_书书法图片_词典网
客厅现代简约风格设计,高清图片,电脑桌面-壁纸族