图知网
搜索
首页
热门推荐
图片分类
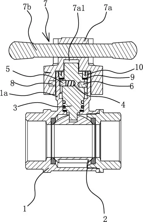
cn202768934u_一种智能锁闭阀有效
下载原图
相关图片
一种磁性锁闭阀的制作方法
专利名称一种磁性锁闭阀的制作方法
cn208123501u_磁性锁闭阀有效
一种带机械锁和磁性锁的双重锁闭阀制造技术
一种新型磁性锁闭阀的制作方法
> 阀门结构
为你推荐
王一博机场出发洛杉矶看秀 棒球帽针织衫,休闲帅气的酷盖……_高清
栖息在草地上的蓝棕色蝴蝶
绝世唐门:徐三石觉醒武魂好邪恶,14岁江楠楠留阴影,剧情将魔改
请问眼皮上这个是疣吗
为什么这种微小的海蛞蝓有时被称为"海绵羊"或"叶绵羊"?
傻儿传奇之抗战到底演员表
唯美娇艳的大丽花图片桌面壁纸
香港小姐冠军张名雅展现迷人风采