图知网
搜索
首页
热门推荐
图片分类
皇太极(1592-1642年),清国的建立者,在位17年,年号天聪,崇德努尔哈赤
下载原图
相关图片
努尔哈赤蜡像
努尔哈赤康熙,雍正,乾隆道光帝慈禧太后万家丽世界名人蜡像馆万家丽
努尔哈赤康熙,雍正,乾隆道光帝慈禧太后万家丽世界名人蜡像馆万家丽
努尔哈赤(1559-1626年),后金政权创立者,在位11年,年号天命
同治皇帝顺治皇帝乾隆皇帝皇太极蜡像康熙皇帝努尔哈赤塑像道光皇帝
努尔哈赤雕像
为你推荐
nba科比球衣写真,高清图片,电脑桌面-壁纸族
博君一肖手绘 双人机场 王一博肖战双人机场 #博君一肖
风车矢量图
乳腺癌晚期病人,大家来看看有什么好办法? [病例帖]
qq经典头像qq系统原始头像大全
古风帅哥头像壁纸
张飞简笔画
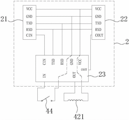
智能柜的电磁锁控制方法,控制系统及智能柜与流程