图知网
搜索
首页
热门推荐
图片分类
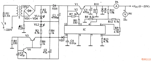
5v~12v的可调电源 电流15a左右 具体要什么元件 还有电路图
下载原图
相关图片
可调直流稳压电源电路
无忧文档 所有分类 工程科技 电子/电路 lm317可调稳压直流电源原理图
lm317可调式稳压电源 - led 技术 diy 电路的日志 - 网易博客
lm317与lm337可调稳压电源电路附图求教
lm317 1.25-12v 5a可调稳压电源.gif
可调直流稳压电源 九-电源电路-维库电子市场网
为你推荐
生活禅 | 知足就是幸福
亲们,昨天给儿子洗澡,突然发现儿子泡泡多了一个软软
你的背包钢琴简谱-数字双手-陈奕迅3
优岛实体娃娃款全硅胶男用免成人全身女朋友带骨架智能加热情趣性用品
原创 中国有个"罗马村",住着欧洲贵族后裔却说甘肃方言
郎平在美国生活状态和丈夫关系亲密住游泳池豪宅座驾超百万
原创征服里被刘华强欺负的封彪今年都50岁了却风采依旧
爱吃面条的要收藏,这样做简单又好吃,比炒面还香,全家人都爱吃