图知网
搜索
首页
热门推荐
图片分类
花架
下载原图
相关图片
庭院花架不只是架子那么简单
月季拱门花架门铁艺爬藤架铁架架子藤架葡萄花园户外庭院阳台支架
20款-好看精致的庭院花架,设计公司私藏
庭院花架怎么设计 花架的材质种类有哪些
2021新款花架户外庭院阶梯式花盆盆架实木阳台花架
花架合集:n款爬藤植物花架送给你,让你的庭院私家花园更有气质
为你推荐
扎马尾适合刘海吗 扎马尾怎么留刘海(2)
轻奢皮沙发小户型客厅公寓租房双人三人办公室皮艺沙发组合 浅灰色
刀插心痛滴血图片大全 心在滴血的伤感图片_微信头像图片大全
lols7虚空之眼天赋符文加点 雷霆 大眼睛 出装 符文 虚空 天赋 加点
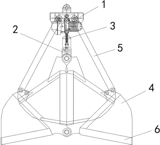
cn103387180a_一种环链电动葫芦抓斗失效
站在别墅外的等待服务的管家团队
荷兰郁金香种球一代大球水培花卉盆栽重瓣植物室内外四季开花 b5白色
男生小平头发型剪的好照样也很帅